Hacer en Fox pro el sig menu:
![]() |
| Menu Agencia |
Menu Viajes :D
clear all
release all
use libro
resp="0"
do while resp!="6"
@20,20 color RB+ say "Agencia de viajes"
@3,1 clear
@8,30 say "Menu Agencia" style 'BI'
@10,19 say "1).-Añadir vuelos " style 'BI'
@10,50 say "2).-Consultar vuelos" style 'BI'
@13,19 say "3).-Modificacion de vuelos" style 'BI'
@13,50 say "4).-Eliminar rutas" style 'BI'
@16,19 say "5).-impresion de reportes" style 'BI'
@16,50 say "6).-salida del programa" style 'BI'
resp=" "
do while .NOT. resp$'1,2,3,4,5,6'
@22,28 say "opcion elegida==>" get resp style 'BI'
read
enddo
do case
case resp="1"
do altasv
case resp="2"
do consultasv
case resp="3"
do modificarv
case resp="4"
do bajasv
case resp="5"
do impresionv
endcase
enddo
@24,35 say "Saliendo...Pulse una tecla..." style 'BI'
wait
clear
close databases
close all
altas :D
@8,100 say "Nuevo vuelo"
use viajes
resp1="S"
do while resp1="S"
clave=space(10)
ciudad=space(15)
pais=space(20)
salida=00/00/00
llegada=00/00/00
costo=000
destino=space (10)
capac=space(3)
itinerario=space(20)
store "N" to resp2
do while resp2="N"
append blank
@10,90 say "Clave=>" get clave
@11,90 say "Ciudad=>" get ciudad
@12,90 say "Pais=>" get pais
@13,90 say "fecha salida=>" get salida
@14,90 say "fecha llegada=>" get llegada
@15,90 say "costo $ =>" get costo
@16,90 say "destino=>" get destino
@18,90 say "capacidad=>" get capac
@19,90 say "itinerario=>" get itinerario
read
@21,90 say "Datos correctos [S/N]?" get resp2
read
enddo
@23,90 say "Desea añadir otro registro [S/N]?" get resp1
read
enddo
return
![]() |
Consultas xD
use viajes
index on clave to viajes
clave=space(10)
ciudad=space(15)
pais=space(20)
salida=00/00/0000
llegada=00/00/0000
costo=0000
destino=space (10)
capac=space(6)
itinerario=space(5)
resp1="s"
do while resp1="s"
@6,100 say "****Consulta de vuelos****" style 'BI'
clve=space(10)
@8,100 say "¿que vuelo quieres consultar?:"style 'BI' get clve
read
if seek (clve)
@10,90 say "Clave=>" get clave
@11,90 say "Ciudad=>" get ciudad
@12,90 say "Pais=>" get pais
@13,90 say "fecha salida=>" get salida
@14,90 say "fecha llegada=>" get llegada
@15,90 say "costo $ =>" get costo
@16,90 say "destino=>" get destino
@18,90 say "capacidad=>" get capac
@19,90 say "itinerario=>" get itinerario
else
@21,100 say "Error: No se encontro la informacion"
endif
@22,100 say "¿Buscas algo mas[S/N]?" get resp1
read
clear
enddo
return
Modificaciones ü
use viajes
index on clave tag viajes
resp1="s"
vclave=space(10)
vciudad=space(15)
vpais=space(20)
vsalida=00/00/00
vllegada=00/00/00
vcosto=000
vdestino=space (10)
vcapac=000
vitinerario=space(20)
do while resp1="s"
@5,90 say "nombre a buscar:" style 'BI' get vclave
read
seek vclave
@5,88 say "menu de modificaciones de vuelos"style 'BI'
@8,88 say "1.-Clave"
@8,101 say clave
@9,88 say "2.-Ciudad"
@9,99 say ciudad
@10,88 say "3.-Pais"
@10,103 say pais
@11,88 say "4.-Hora salida"
@11,101 say salida
@12,88 say "5.-Hora llegada"
@12,99 say llegada
@13,88 say "6.-Costo"
@13,99 say costo
@14,88 say "7.-Destino"
@14,100 say destino
@15,88 say "8.-Capacidad"
@15,101 say capac
@16,88 say "9.-Itinerario"
@16,99 say itinerario
resp=" "
do while .NOT. resp$'1,2,3,4,5,6,7,8,9'
@22,80 say "que campo deseas modificar ?" get resp
read
enddo
do case
case resp='1'
@8,101 get vclave
read
replace clave with vclave
case resp='2'
@9,99 get vcuidad
read
replace cuidad with vciudad
case resp='3'
@10,103 get vpais
read
replace pais with vpais
case resp='4'
@11,101 get vsalida
read
replace salida with vsalida
case resp='5'
@12,99 get vllegada
read
replace llegada with vllegada
case resp='6'
@13,99 get vcosto
read
replace costo with vcosto
case resp='7'
@14,100 get vdestino
read
replace destino with vdestino
case resp='8'
@15,108 get vcapac
read
replace capac with vcapac
case resp='9'
@16,99 get vitinerario
read
replace itinerario with vitinerario
endcase
clear gets
@23,90 say "desea modificar otro viaje [S/N]?" style 'BI' get resp1
read
enddo
return
Bajas J
use viajes
index on clave tag viajes
@8,100 Say "Eliminar Vuelos" style 'BI'
resp1="s"
do while resp1="s"
clav=space(10)
@10,90 say "nombre del registro que desea eliminar:" style 'BI' get clav
read
seek clav
@12,90 say clave
@13,90 say ciudad
@15,90 say "1. Marcar"
@16,90 say "2. Eliminar definitivamente"
@17,90 say "3. Ninguna"
resp=" "
do while .NOT. resp$'1,2,3'
@18,90 say "opcion:" get resp
read
do case
case resp='1'
delete
case resp='2'
pack
endcase
enddo
@22,90 say "desea eliminar otro vuelo [s/n]?" get resp1
read
enddo
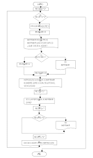
Impresión =)
use viajes
index on clave tag clave
resp1="s"
do while resp1="s"
go top
@0,0 clear
@3,26 say "impresion de rutas..."
buscar=0
@7,22 say "1)imprimir todos los viajes:"
@9,22 say "2)imprimir un viaje en especifico:"
@12,22 say "¿que deceas hacer?" get buscar
read
if buscar=1
list to printer
else if buscar=2
go top
buscar=0
@13,15 say"introdusca el numero del viaje a imprimir:"get buscar
read
go buscar
@10,90 say "Clave=>" get clave
@11,90 say "Ciudad=>" get ciudad
@12,90 say "Pais=>" get pais
@13,90 say "fecha salida=>" get salida
@14,90 say "fecha llegada=>" get llegada
@15,90 say "costo $ =>" get costo
@16,90 say "destino=>" get destino
@18,90 say "capacidad=>" get capac
@19,90 say "itinerario=>" get itinerario
clear gets
resp2=""
@25,25 say "¿es el viaje a imprimir? [s/n]:" get resp1
read
resp2=""
if resp2="s"
display to printer
endif
endif
resp1="s"
@27,25 say "¿decea hacer otra impresion? [s/n]:" get resp1
read
enddo
go top
return




